Применение АПН в производстве экстракционной фосфорной кислоты
Расчеты АПН улавливания фосфорной кислоты от 3000р
Применение АПН в производстве экстракционной фосфорной кислоты. Экстракционную фосфорную кислоту получают дигидратным и полутидратным методами. Новые заводы проектируют в расчете на полугидратный метод. Содержащийся в фосфатном сырье фтор выделяется в процессе получения экстракционной фосфорном кислоты в газовую фазу (в виде производства – SiF4 и НF), причем степень выделения фтора его содержания и сырье составляет от 10 до 70% (остальное количество остается в продукционной фосфорной кислоте и в отходе производства - фосфогипсе).
Основными стадиями процесса, на которых выделяется фтор, являются разложение фосфатов в экстракторе и выпаривание фосфорной кислоты (обычно в вакуум-выпарных аппаратах). На большинстве заводов применяют охлаждение экстракционной пульпы в вакууме, что также ведет к выделению фтора. Кроме того, небольшие количества фтора выделяются при санитарно-техническом отсосе газов с поверхности вакуум-фильтра и из баковой аппаратуры.
АПН предусматривают для улавливания фтористых соединений из аппаратов, работающих под давлением, близким к атмосферному, т. е. из экстрактора, а также с поверхности вакуум-фильтра и из баковой аппаратуры. Для аппаратов, работающих под вакуумом, применяют полые абсорберы, хотя, повидимому, и в этом случае возможно применение АПН. Основным фактором, определяющим целесообразность использования АПН в рассматриваемом процессе, является выделение в процессе абсорбции SiF4 твердой фазы - геля кремневой кислоты.
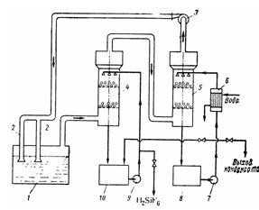
На рис. IV-3 показана схема абсорбции газов, выделяющихся из экстрактора. Такая схема разработана применительно к полугидратному методу. Предусматривается установка последовательно двух аппаратов АПН с двумя или тремя слоями насадки в каждом.

Рис. IV-3. Схема абсорбции фтористых соединений в производстве экстракционной фосфорной кислоты:
1,2 - абсорберы с псевдоожиженной насадкой; 3 - вентилятор; 4, 6 - насосы; 5, 7 - сборники; 8 - газоход, промываемый жидкостью; 9 - подача жидкости на про¬мывку газохода.
Каждый абсорбер орошается «на себя» в замкнутом цикле. Часть жидкости из цикла второго (по ходу газа) абсорбера передается в цикл первого абсорбера, из цикла которого выводится кремнефтористоводородная кислота концентрацией 8-12% Н2SiFб или с более низкой концентрацией, если эта кислота направляется на укрепление в систему абсорбции после вакуум-выпарного аппарата. На подпитку цикла второго абсорбера подается вода. Получаемая кремнефтористоводородная кислота используется для производства кремнефторидов или фторидов.
Описанная схема в ряде случаев может быть видо¬изменена. Так, кислотный цикл орошения можно осуществлять лишь в первом (по ходу газа) абсорбере, а второй абсорбер может служить санитарным и орошаться известковым молоком с содержанием 1-2% СаО, при этом фтор из второго абсорбера не утилизи¬руется и направляется на станцию нейтрализации. Если фтор используют для получения кремнефторида аммония, то на абсорбцию подают маточный раствор, остающийся после выделения кристаллоd/
Основные показатели АПН в системе абсорбции газов из экстрактора при полугидратном методе приведены ниже. Количество отсасываемого газа 800 м3 на 1 т фосфатного сырья. Количество выделяемого в экстракторе фтора (по отношению к содержанию в фосфатном сырье) от 6% (при температуре в экстракторе 90- 95 °С и концентрации фосфорной кислоты 36-38% Р2Об) до 30-35% (при температуре в экстракторе ~10°С). Этим условиям соответствует концентрация газа перед абсорбером 2-12 г/м3 (в пересчете на фтор). Температура поступающих газов 75-90°С. Подробнее по параметрам аппарата пишите на почту
Надо отметить, что количество отсасываемого газа, определяется в данном процессе тем, что экстрактор является герметичным и для создания санитарных условий в цехе под крышкой экстрактора должно существовать некоторое разрежение (порядка 50-100 Па) которое и вызывает подсос воздуха из атмосферы. И этих условиях количество отсасываемого газа зависш от температуры в экстракторе и от конструкции последнего, в частности, от площади его поперечного сечения. Так, при дигидратном методе (температура в экс тракторе ~70°С) количество отсасываемого газа составляет 250-300 м3 на 1т фосфатного сырья. Для проектируемой мощной нитки (1000 т Р2О5 в сутки) по полугидратному методу количество отсасываемого газа принято 400-500 м3 на 1 т фосфатного сырья. При осуществлении ряда мероприятий по герметизации экстрактора количество отсасываемого газа может быть значительно снижено.
С целью полной ликвидации выброса вредных веществ в атмосферу разработана схема воздушного охлаждения экстрактора и рециркуляции газа (рис. IV-4). По этой схеме охлаждение пульпы в экстракторе достигается соприкосновением ее с воздухом (барботажем или другим способом) в результате ис¬парения некоторого количества воды. Газы из экстрак¬тора проходят последовательно через два АПН, причем в первом осуществляется абсорбция фтористых соеди¬нений, а во втором - конденсация водяного пара, образовавшегося в экстракторе (с одновременным поглощением остатка фтористых соединений, не поглощен¬ных в первом абсорбере). Тепло конденсации отнимается в холодильнике, через который циркулирует жидкость, орошающая второй абсорбер. Воздух после второго абсорбера, очищенный от фтористых соединений и освобожденный от водяных паров, вентилятором возвращается на охлаждение экстрактора. Схема с рецир¬куляцией газа требует осуществления герметизации экстрактора. Описанная схема упрощается в случае мокрого удаления фосфогипса; при этом второй абсорбер орошается «на проток» большим количеством воды, которую затем направляют на репульпацию фосфогипса.

Рис. IV-4. Схема получения экстракционной фосфорной кислоты с воздушным охлаждением экстрактора и рециркуляцией газов:
1 - экстрактор, 2 - барботажныс трубы для подачи воздуха в экстрактор; 3 - вентилятор; 4 - абсорбционная башня (АПН); 5 - конденсационная башня (АПН); 6 - холодильник; 7, 9 - насосы; 8, 10 - сборники.
Были проведены исследования по улавливанию выделяющихся в производстве экстракционной фосфорной кислоты фторсодержащих газов при переработке в полугидратом режиме фосфоритов Каратау. Исследования проводили в абсорбере диаметром 650 мм с двумя слоями полипропиленовых шаров диаметром 38-40 мм, массой ~5 г каждый. Высота статического слоя составляла 200 мм, доля свободного сечения решетки 0,5, расстояние между решетками 1500 мм.
В другой работе испытан абсорбер с тремя тарелками диаметром 300 мм и высотою 7 м с насад-кой из винипластовых колец 25X12X2 мм, насыпная-масса которых составляла 223 кг/м3 (масса кольца 2 г) Тарелки с долей свободного сечения 0,4 имели двойную перфорацию (в центральной части диаметр отвер стий 12 мм, на остальной части 20 мм). Высота статического слоя насадки составляла 50 мм.
Приводятся данные о промышленном абсорбере диаметром 1,6 м производительностью по газу 23000-30000 м3/ч. Абсорбер состоит из двух секций, решетки имеют свободное сечение в нижней секции 0,1 и в верхней 0,5. Насадка из резиновых шаров диаметром 40 мм, плотностью 500-600 кг/м3. Высота насадки в нижней секции 150-200 мм, в верхней 150 мм.
Сообщается [151] о применении АПН фирмой «Йен кавадзима Харима Дзюкогё Кабусики Кайся» (Япония) для улавливания газов, выделяющихся в производстве экстракционной фосфорной кислоты. Расход газа 52000 м3/ч, температура газа 50°С. Концентрация SiF4 на входе 100 мг/м3. Абсорбер с одной тарелко:'}, стальной, гуммированный, диаметром 2,05 м.

